浦城大米包装

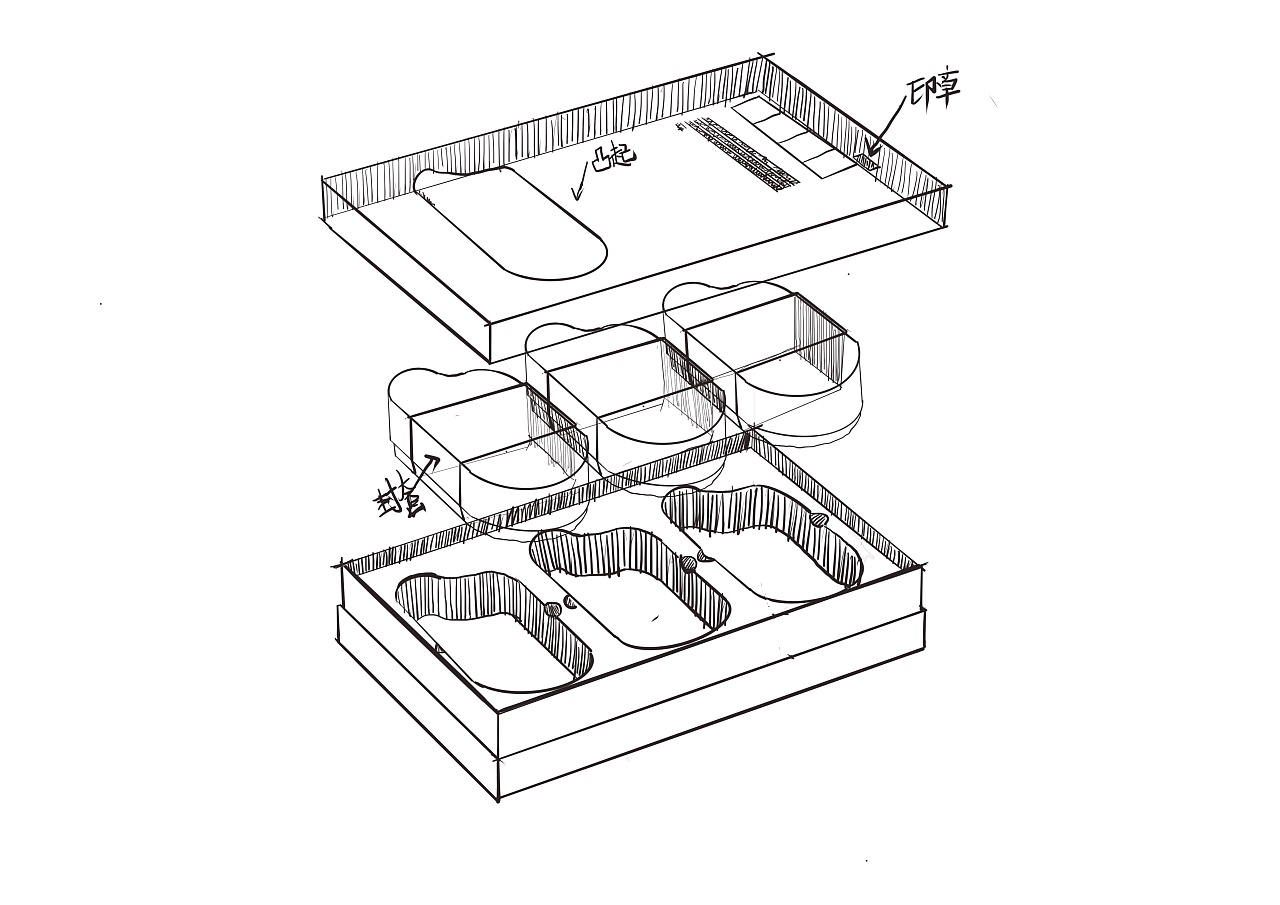
农产品礼盒设计/大米包装设计
农产品礼盒设计/大米包装设计
农产品礼盒设计/大米包装设计
农产品礼盒设计/大米包装设计
农产品礼盒设计/大米包装设计
农产品礼盒设计/大米包装设计
农产品礼盒设计/大米包装设计
农产品礼盒设计/大米包装设计
农产品礼盒设计/大米包装设计
农产品礼盒设计/大米包装设计
农产品礼盒设计/大米包装设计
农产品礼盒设计/大米包装设计
农产品礼盒设计/大米包装设计
本站使用 黔狐建站 智能创建